Click for technic details

The double ball automatic air valves are used for applications related to troubles with air in the pipelines. Minimum pressure on seat: 0.3 bar. The double ball air valves have three functions:
Discharge large amount of air during filling operations
Discharge small amount of air during working operations
Let air in during piping emptying operations
Design & manufacture: DIN 3352
Flanges: UNI EN 1092-1 PN 10-16-25
Installation: at the high part of pipelines
APPLICATIONS • Aqueducts • Irrigation plants
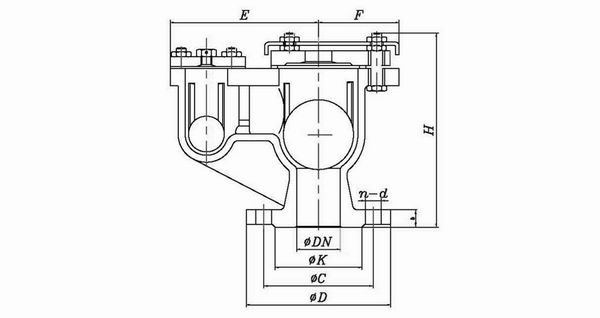
|
DN |
D mm |
H mm |
F mm |
E mm |
Weight kg |
|
50 |
165 |
215 |
115 |
187 |
14.0 |
|
65 |
185 |
215 |
115 |
187 |
15.5 |
|
80 |
200 |
240 |
93 |
230 |
20.0 |
|
100 |
220 |
285 |
145 |
300 |
26.0 |
|
150 |
285 |
385 |
190 |
369 |
61.0 |
|
200 |
340 |
500 |
205 |
398 |
120.0 |
|
Body & Bonnet |
Ductile Iron |
|
Ball |
Stainless Steel SS304, 316, ABS |
|
Plate |
Ductile Iron |
|
Gland |
Ductile Iron |
|
Air release nipple |
Brass |
|
Available standard |
BS 6755 |
|
Working Pressure |
1.0 |
1.6 |
2.5 |
|
Test Pressure |
Body |
1.5 |
2.4 |
3.75 |
|
Seat |
1.1 |
1.76 |
2.75 |