
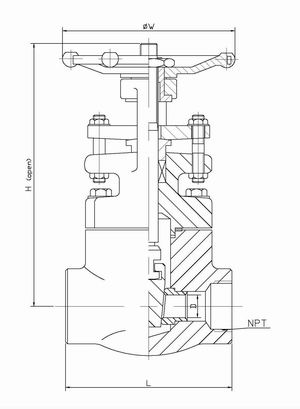
The forged steel gate valves are on-off valves manufactured according to API, ANSI, ASME standard, for industrial applications. The forged steel gate valves are manufactured with: outside screw and yoke, bolted or welded bonnet, rising stem, NPT threaded ends or socked weld ends. The body of the valve is in A105/F6, other materials are available upon request. Handwheel operated.
Design & Manufacture: API 602, ASME B16.34
Test & Inspect: API 598
Marking: MSS-SP-25
Socket Weld Ends to ANSI/ASME B16.11
Screwed Ends to ANSI/AME B1.20.1
|
Body |
A105(N), A182 F22, A182 F304(L), A182 F316(L) |
|
Stem |
A182 F6a, A182 F304, A182 F304(L), A182 F316(L) |
|
Disc |
A276 420, A276 304(L), A276 316(L) |
|
NPS |
L mm |
H mm |
W mm |
Weight kg |
|
3/8¡± |
79 |
158 |
125 |
2.0 |
|
1/2¡± |
92 |
169 |
125 |
2.3 |
|
3/4¡± |
111 |
197 |
160 |
4.3 |
|
1¡± |
120 |
236 |
160 |
5.9 |
|
1 1/4¡± |
120 |
246 |
180 |
6.9 |
|
1 1/2¡± |
140 |
283 |
200 |
11.1 |
|
2¡± |
178 |
330 |
240 |
15.2 |