Click for technic details

The silencing check valves in cast iron with spring are the optimal solution for big diameter pipelines. They can be considered as alternative to venturi check valves, whenever needed a compact face to face length. The silencing check valves close without noise and quickly, they don¡¯t need any maintenance and are long lasting. Available from DN 300 to DN 1200
Flange: UNI EN 1092-1 PN10/PN16/PN25
Flanged ends: DIN 2532
Inspection & test: GB/T 13927
|
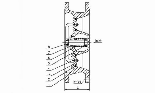
Body |
Cast Iron, Ductile Iron |
|
Disc |
Cast Iron, Ductile Iron |
|
Ring seal |
NBR |
|
Disc seal |
Steel |
|
DN |
L mm |
D mm |
Weight kg |
|
300 |
181 |
445 |
- |
|
350 |
184 |
505 |
- |
|
400 |
191 |
565 |
- |
|
500 |
219 |
670 |
- |
|
600 |
222 |
780 |
- |
|
700 |
280 |
895 |
- |
|
800 |
356 |
1015 |
|
|
900 |
368 |
1115 |
- |
|
1000 |
432 |
1230 |
- |
|
1200 |
524 |
1455 |
- |